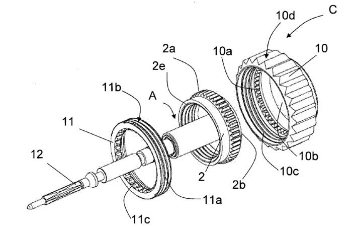
Le Corone Oyster degli Orologi Rolex.
Le corone Oyster più utilizzate che troviamo negli orologi Rolex sono di tipo Twinlock e quella di tipo triplock.
In questo post elenco le referenze delle varie Corone, Tubi Filettati e Guarnizioni.

Corone Oyster Twinlock
-
Corona Twinlock ref. 24-530 ha 1 guarnizione ref. 29-0503, si accoppia con i Tubi Filettati ref. 24-5300, 24-5310, 24-5330 e portano tutti 1 guarnizione ref. 29-05300
--------------------------------------------------------------------------------------------
Corona Oyster Triplock 24-702

Il modello Triplock con Tubo Filettato 24/7020 porta 2 guarnizioni interne nel tubo ref. 29-06000.
La corona 24-702 porta una guarnizione ref. 29.06000.
--------------------------------------------------------------------------------------------
Corona Oyster Triplock 24-703

Il modello Triplock con Tubo Filettato 24-7030 riporta 2 guarnizioni interne ref. 29-06000 e 1 guarnizione esterna ref. 29-06300.
nella Corona ref. 24-703 porta 1 guarnizione ref. 29-06000
--------------------------------------------------------------------------------------------
--------------------------------------------------------------------------------------------
CORONA OYSTER CON DIAMETRO MM 5.30
Tubo Filettato Oyster ref. 24-5300 per Corona Rolex ref. 24-530 o 530 con diametro mm 5.30 Vecchio Modello con FIlettatura Interna Tagliata a Stella, Tubo Antico identificato anche con la referenza Rolex 5300
Questo Tubo Oyster può essere sostituito con le ref. 24-5310 Modello Intermedio e 24-5330 Modello Nuovo
- Tubo Filettato per Orologio Donna ref. Rolex 24-5300 Primo Modello (old Type)
- diametro Filetto lato Corona (M1) mm 4.00
- diametro Filetto lato Cassa (M2) mm. 2.50
La Filettatura Tagliata a Stella per l'inserimento del Mandrino di montaggio del tubo è INTERNA lato cassa. Dopo il montaggio del Tubo, la filettatura tagliata a stella, deve essere alesata altrimenti la corona non si inserisce.
---------------------------------------------------------------------------------------------------
CORONA OYSTER TWINLOCK CON DIAMETRO MM 5.30
Tubo Filettato 24-5310 per Corona Rolex ref. 24-530 o 530 con diametro mm 5.30Modello Intermedio con Filettatura Esterna tagliata a Stella.
Questo Tubo Oyster è individuato anche con la ref. 5310
Questo Tubo Oyster può essere sostituito con le ref. 24-5300 Vecchio Modello e 24-5330 Modello Nuovo
- Tubo Filettato per Orologio Donna ref. Rolex 24-5310 (Modello Intermedio)
- diametro Filetto Corona (M1) mm 4.00,
- diametro Filetto Cassa (M2) mm 2.50,
la Filettatura Tagliata a Stella per la chiave di montaggio del tubo è esterna lato corona, non deve essere alesata e può essere utilizzata per svitare il tubo.
----------------------------------------------------------------------------------------------------
CORONA OYSTER TWINLOCK CON DIAMETRO MM 5.30 e MM 6.00
Tubo Filettato 24-5330 con Filettatura Esterna tagliata a Stella per Corona Rolex diametro mm 5.30 con ref. 24-530 e Corona Rolex diametro mm 6.00 con ref. 24-603
Questo Tubo Oyster è individuato anche con la ref. 5330
Questo Tubo Oyster solo per la corona diametro mm 5.30 ref. 24-503 può essere sostituito con le ref. 24-5300 Vecchio Modello e ref. 24-5310 Modello intermedio.
- Tubo Filettato Rolex 24-5330 (Nuovo Modello). Per Orologio Donna con corona da mm 5.30 ref. 24-503 e Orologio uomo con corona da mm 6.00 ref. 24-603
- diametro Filetto Corona (M1) mm 4.00,
- diametro Filetto Cassa (M2) mm 2.50,
la Filettatura Tagliata a Stella per la chiave di montaggio del tubo è esterna lato corona, non deve essere alesata e può essere utilizzata per svitare il tubo.
---------------------------------------------------------------------------------------------------
CORONA OYSTER TWINLOCK CON DIAMETRO MM 6.00
Tubo Filettato 24-6000 con Filettatura Interna tagliata a Stella per Corona Rolex diametro mm 6.00 con ref. 24-600 Old Type
Questo Tubo Oyster è individuato anche con la ref. 6000
Questo Tubo Oyster può essere sostituito con le ref. 24-6010 Nuovo Modello.
- Tubo Filettato per Orologio Uomo ref. Rolex 24-6000, Primo Modello (old Type):
- diametro Filetto Corona (M1) mm 4.40 mm,
- diametro Filetto Cassa (M2) mm 3.00
La Filettatura Tagliata a Stella per l'inserimento del Mandrino di montaggio del tubo è INTERNA lato cassa. Dopo il montaggio del Tubo, la filettatura tagliata a stella, deve essere alesata altrimenti la corona non si inserisce.
---------------------------------------------------------------------------------------------------
CORONA OYSTER TWINLOCK CON DIAMETRO MM 6.00
Tubo Filettato 24-6010 con Filettatura Esterna tagliata a Stella per Corona Rolex diametro mm 6.00 con ref. 24-603 Nuovo Modello.
Questo Tubo Oyster è individuato anche con la ref. 6010
Questo Tubo Oyster può essere sostituito con le ref. 24-6000 Vecchio Modello
- Tubo Filettato per Orologio Uomo ref. Rolex 24-6010 Nuovo Modello:
- diametro Filetto Corona (M1) mm 4.40,
- diametro Filetto Cassa (M2) mm 3.00,
la Filettatura Tagliata a Stella per la chiave di montaggio del tubo è esterna lato corona, non deve essere alesata e può essere utilizzata per svitare il tubo.
-----------------------------------------------------------------------------------------
CORONA OYSTER TRIPLOCK CON DIAMETRO MM 7.00
Tubo Filettato 24-7020 per Corona Rolex con diametro di mm 7.00 con ref. 24-702 Vecchio Modello.
Questo Tubo Oyster è individuato anche con la ref. 7020
- ref. 24-7020 Tubo Filettato ref. Rolex 24-7020 per Orologio Uomo Nuovo Modello:
- diametro Filetto Corona (M1) mm 5.00,
- diametro Filetto Cassa (M2) mm 3.00 x 0.30
----------------------------------------------------------------------------------------------------
CORONA OYSTER TRIPLOCK CON DIAMETRO MM 7.00
Tubo Filettato 24-7030 per Corona Rolex con diametro di mm 7.00 con ref. 24-703 e 24-704, Nuovo Modello.
Questo Tubo Oyster è individuato anche con la ref. 7030
- ref. 55.007 Tubo Filettato ref. Rolex 24-7030 per Orologio Uomo Nuovo Modello:
- diametro Filetto Corona (M1) mm 5.00,
- diametro Filetto Cassa (M2) mm 3.00
la Filettatura Tagliata a Stella per la chiave di montaggio del tubo è esterna lato corona, non deve essere alesata e può essere utilizzata per svitare il tubo.